|
一、JZJ2B(S)系列羅茨水環真空機組用途:
JZJ2B(S)系列羅茨水環真空機組是由ZJ型羅茨泵做為主抽泵,2BV(2SK)型水環真空泵或羅茨水環真空機組作為前級泵組成的抽氣機組。它不僅可以用來抽除一般氣體,還可以抽吸含有水份及少量灰塵的氣體。它與一般機械真空泵相比具有不怕油污染,不怕水氣及微塵等優點;和一般水環真空泵相比,具有極限真空度高及在較高真空度工況下抽速大的優點。是輕紡、食品、化工、制藥等行業領域的干燥、脫水及真空除氣的一種理想的真空抽氣設備。 |
二、JZJ2B(S)系列羅茨水環真空機組特點:
1.JZJ2B系列羅茨水環真空機組采用了高效節能的2BV型水環真空泵作為前級泵,所以JZJ2B系列羅茨水環真空機組比JZJ2S系列羅茨水環真空機組具有效率高、結構緊湊、無泄露(2BV系列為機械密封標準設計,不同于2SK系列的盤根密封)、耐腐蝕(2BV系列采用鋁青銅葉輪)、防護等級高的優點。
2.羅茨水環真空機組的前級泵的工作液多采用水,也可采用有機溶劑(可用甲醇、乙醇、二甲苯、丙酮等有機溶劑)或其它液體,將前級泵作為閉路循環系統使用,大大減少了對環境的污染,同時大大提高了對有機溶劑的回收。其極限真空度由工作液的飽和蒸汽壓決定。
|
| 三、JZJ2B(S)系列羅茨水環真空機組型號表示方法: |
 |
四、JZJ2B(S)系列羅茨水環真空機組的選型注意事項:
一、了解被抽氣體成分,氣體中是否含有可凝蒸氣、有無顆粒灰塵、有無腐蝕性等。選擇真空泵時,需要知道氣體成分,針對被抽氣體選擇相應的泵。如果氣體中含有蒸氣、顆粒、及腐蝕性氣體,應該考慮在JZJ2B系列羅茨水環真空機組的進氣口管路上安裝輔助設備,如冷凝器、除塵器等。
二、羅茨真空機組的工作壓力應該滿足真空設備的極限真空及工作壓力要求。如:某真空干燥工藝要求10mmHg(絕壓)的工作壓力,選用的真空泵的極限壓力至少要2mmHg,最好能低于1mmHg。通常選擇泵的極限壓力要高于真空設備工作壓力半個到一個數量級。
三、正確的選擇羅茨真空機組的工作點。羅茨真空機組的正常工作范圍為最高吸入壓力~極限壓力×5。例:JZJ2B150-2.1羅茨水環真空機組的正常工作范圍為:6000Pa~125Pa,該工作范圍為主泵開啟后的正常工作壓力范圍,該機組在此工作范圍之內效率最佳。
四、真空機組在其工作壓力下,應能排走真空設備工藝過程中產生的全部氣體量。
五、根據實際工況條件選用合適的機組配置。例如:JZJ2B300-4.1機組及JZJ2B300-2.1機組的最大抽氣速率及極限壓力都是相同的,所不同的是它們的工作范圍及消耗的功率不同,JZJ2B300-4.1機組正常工作范圍為2000Pa~125Pa,而JZJ2B300-2.1機組的正常工作范圍為
5000Pa~125Pa,很明顯JZJ2B300-2.1機組的正常工作范圍更寬,但其所消耗的功率也更大。如果能確認被抽系統的工作壓力<2000Pa時,應優先選用JZJ2B300-4.1機組以節約能源。如果要求JZJ2B系列羅茨水環真空機組對系統有較強的預抽能力且機組需較長時間工作在較高壓力時,則選用具有更大的前級泵的JZJ2B300-2.1機組更為合適。 |
五、JZJ2B(S)系列羅茨水環真空機組主要性能參數表: |
| 機組型號 |
泵型號 |
抽速
L/s |
最 高吸 入壓 力Pa |
極限壓力Pa(絕壓) |
總功率
KW |
| 主泵 |
前級泵 |
水環機組 |
油環機組 |
| JZJ2B30-1 |
ZJ30 |
2BV5110 |
30 |
12000 |
267 |
80 |
4.75 |
| JZJ2B70-2 |
ZJ70 |
2BV5110 |
70 |
6000 |
5.5 |
| JZJ2B70-1 |
ZJ70 |
2BV5111 |
70 |
12000 |
7 |
| JZJ2B150-2A |
ZJ150 |
2BV5111 |
150 |
6000 |
8.5 |
| JZJ2B150-2B |
ZJ150 |
2BV5121 |
150 |
8000 |
10.5 |
| JZJ2B150-1 |
ZJ150 |
2BV5131 |
150 |
10000 |
14 |
| JZJ2B300-2A |
ZJ300 |
2BV5131 |
300 |
4000 |
15 |
| JZJ2B300-2B |
ZJ300 |
2BV5161 |
300 |
5000 |
19 |
| JZJ2B30-2.1 |
ZJ30 |
ZJ30、2BV2071 |
30 |
8000 |
67-25 |
0.8 |
5.35 |
| JZJ2B70-2.1 |
ZJ70 |
ZJ30、2BV5110 |
70 |
6000 |
6.25 |
| JZJ2B150-2.1 |
ZJ150 |
ZJ70、2BV5111 |
150 |
6000 |
10 |
| JZJ2B150-4.1 |
ZJ150 |
ZJ30、2BV5110 |
150 |
3000 |
7.75 |
| JZJ2B300-2.1 |
ZJ300 |
ZJ150、2BV5131 |
300 |
5000 |
18 |
| JZJ2B300-2.2 |
ZJ300 |
ZJ150、2BV5121 |
300 |
4000 |
14.5 |
| JZJ2B300-4.1 |
ZJ300 |
ZJ70、2BV5111 |
300 |
2000 |
11 |
| JZJ2B600-4.1 |
ZJ600 |
ZJ150、2BV5131 |
600 |
1500 |
19.5 |
| JZJ2B600-2.2 |
ZJ600 |
ZJ300、2BV5161 |
600 |
2000 |
24.5 |
| JZJ2B1200-4.2 |
ZJ1200 |
ZJ300、2BV5161 |
1200 |
1000 |
30 |
| JZJ2B30-2.1.1 |
ZJ30 |
ZJ15、ZJ15、2BV2061 |
30 |
8000 |
0.5 |
0.05 |
3.35 |
| JZJ2B70-2.2.1 |
ZJ70 |
ZJ30、ZJ15、2BV2061 |
70 |
4000 |
4.3 |
| JZJ2B70-2.1.1 |
ZJ70 |
ZJ30、ZJ30、2BV5110 |
70 |
6000 |
7 |
| JZJ2B150-2.2.1 |
ZJ150 |
ZJ70、ZJ30、2BV5110 |
150 |
3000 |
9.25 |
| JZJ2B300-2.2.1 |
ZJ300 |
ZJ150、ZJ70、2BV5111 |
300 |
3000 |
14 |
| JZJ2B300-4.2.1 |
ZJ300 |
ZJ70、ZJ30、2BV5110 |
300 |
1200 |
10.25 |
| JZJ2B600-2.2.1 |
ZJ600 |
ZJ300、ZJ150、2BV5131 |
600 |
2500 |
23.5 |
| JZJ2B600-4.2.1 |
ZJ600 |
ZJ150、ZJ70、2BV5111 |
600 |
1200 |
15.5 |
| JZJ2B1200-4.2.1 |
ZJ1200 |
ZJB300、ZJ150、2BV5131 |
1200 |
1000 |
29 |
|
| 機組型號 |
泵型號 |
抽速
L/s |
最高吸入壓力Pa |
極限壓力Pa(絕壓) |
總功率
KW |
| 水環機組 |
油環機組 |
| 主泵 |
前級泵 |
| JZJ2S30-1 |
ZJ30 |
2SK-1.5 |
30 |
12000 |
267 |
80 |
4.75 |
| JZJ2S70-2 |
ZJ70 |
2SK-1.5 |
70 |
6000 |
5.5 |
| JZJ2S70-1 |
ZJ70 |
2SK-3 |
70 |
10000 |
9 |
| JZJ2S150-2 |
ZJ150 |
2SK-3 |
150 |
6000 |
10.5 |
| JZJ2S150-1 |
ZJ150 |
2SK-6 |
150 |
10000 |
18 |
| JZJ2S300-2 |
ZJ300 |
2SK-6 |
300 |
4000 |
19 |
| JZJ2S300-1 |
ZJ300 |
2SK-12 |
300 |
8000 |
26 |
| JZJ2S600-2A |
ZJ600 |
2SK-12 |
600 |
4000 |
27.5 |
| JZJ2S600-2B |
ZJ600 |
2SK-20 |
600 |
7000 |
42.5 |
| JZJ2S70-2.1 |
ZJ70 |
ZJ30、2SK-1.5 |
70 |
6000 |
25 |
0.8 |
6.25 |
| JZJ2S150-2.1 |
ZJ150 |
ZJ70、2SK-3 |
150 |
6000 |
12 |
| JZJ2S300-2.1 |
ZJ300 |
ZJ150、2SK-6 |
300 |
5000 |
22 |
| JZJ2S600-2.1 |
ZJ600 |
ZJ300、2SK-12 |
600 |
4000 |
31.5 |
| JZJ2S150-4.1 |
ZJ150 |
ZJ30、2SK-1.5 |
150 |
3000 |
7.75 |
| JZJ2S300-4.1 |
ZJ300 |
ZJ70、2SK-3 |
300 |
2000 |
13 |
| JZJ2S600-4.1 |
ZJ600 |
ZJ150、2SK-6 |
600 |
1500 |
25 |
0.8 |
23.5 |
| JZJ2S1200-4.1 |
ZJ1200 |
ZJ300、2SK-12 |
1200 |
1000 |
37 |
| JZJ2S300-4.2.1 |
ZJ300 |
ZJ70、ZJ30、2SK-1.5 |
300 |
1200 |
0.5 |
0.05 |
10.25 |
| JZJ2S600-4.2.1 |
ZJ600 |
ZJ150、ZJ70、2SK-3 |
600 |
1200 |
17.5 |
| JZJ2S1200-4.2.1 |
ZJ1200 |
ZJ300、ZJ150、2SK-6 |
1200 |
1000 |
33 |
| JZJ2S2500-4.2.1 |
ZJ2500 |
ZJ600、ZJ300、2SK-12 |
2500 |
1000 |
53.5 |
|
注:
1.以上表格為行業推薦標準系列,因在實際生產應用中工作條件的不同,吸入氣體壓力會發生很多變化,所以在選型時應根據實際抽氣過程、氣體釋放過程、可疑氣體冷凝情況、吸入壓力的變化時間等進行校核計算或參照現有設備使用情況選型。
2.單泵的技術指標詳見各泵參數表。
3.最高吸入壓力是指主泵能夠啟動的最高壓力,如果在高于該壓力的情況下啟動主泵,可能會造成主泵過載。
4.如真空泵電機、電接點真空表、電控柜需防爆,請在訂貨時注明,上表中的2BV2系列相應改為2BV2-Ex系列,2BV5系列相應改為2BV6系列。 |
六、JZJ2B(S)系列羅茨水環真空機組操作工作過程: |
(一)、二級羅茨水環真空機組(羅茨泵+水環泵)
該羅茨水環真空機組的主泵為V2型羅茨真空泵,由V1型液環真空泵作為前級泵(如系統圖1),為保證各泵的正常運轉,應按以下程序操作:
1.安裝前檢查設備的完整性,并熟悉所配各泵的使用說明書。
2.將羅茨水環真空機組就位固定好底角,按要求連接管路。
注意:在連接進氣管路時,應在羅茨水環真空機組上方管路中安裝20~40目的過濾網,防止焊渣等異物進入真空機組,在管路通過抽氣實驗并試車成功后可以將其取出。最好能夠安裝Y型過濾器。
羅茨泵進氣口上方與系統連接處應安裝閥門,以便在停車時先行關閉,使羅茨水環真空機組與真空系統隔開;液環泵和供液管路間要裝有球閥,以控制向液環泵內的供液量。
3.羅茨水環真空機組啟動前,要檢查系統各管道有無泄漏;液環泵啟動前要點車啟動,檢查是否卡住;啟動前還要按《羅茨真空泵使用說明書》將羅茨泵油箱及油杯內油位注至指定要求;并且連接好羅茨泵的冷卻管路,保證羅茨泵軸封端的冷卻效果。
4.裝配羅茨水環真空機組好控制柜,按電氣原理圖聯接電動機和電接點真空表。
5.給電控柜送電前,還應遙測其絕緣電阻≮10MΩ,且機架與各電機有良好的接地;羅茨水環真空機組啟動前,檢查各泵的轉動方向是否正確,做好開車前的其他準備工作。
6.調整電接點真空表上真空度下限至-0.092MPa,上限調至最大;注意:在調整電接點真空表上、下限時,必須先將總電源切斷,以防觸電!
7.給電控柜送上電源,打開供液閥對液環泵供注水,按下啟動按鈕,液環真空泵運轉;電接點真空表控制羅茨泵自動啟動,羅茨水環真空機組開始工作,帶動整個系統。在運行中,如因某因素真空度低于限定值時,羅茨泵會自動停止運行,待真空度恢復到限值時,羅茨泵又重新啟動;
8.關機前,要關閉系統與機組聯接蝶閥,然后按停止按鈕,羅茨水環真空機組停止運行。 |
|
(二)、三級羅茨水環真空機組(羅茨泵+羅茨泵+水環泵)
該羅茨水環真空機組的主泵為V3型羅茨真空泵,由V2型羅茨真空泵和V1型液環真空泵作為前級泵(如系統圖2),為保證各泵的正常運轉,應按以下程序操作:
1.安裝前檢查設備的完整性,并熟悉所配各泵的使用說明書。
2.將羅茨水環真空機組就位固定好底角,按要求連接管路。
注意:在連接進氣管路時,應在羅茨水環真空機組上方管路中安裝20~40目的過濾網,防止焊渣等異物進入真空機組,在管路通過抽氣實驗并試車成功后可以將其取出。最好能夠安裝Y型過濾器。羅茨泵進氣口上方與系統連接處安裝閥門,以便在停車時先行關閉,使羅茨水環真空機組與真空系統隔開;液環泵和供液管路間要裝有球閥,以控制往液環泵內的供液量。
3.羅茨水環真空機組啟動前,要檢查系統各管道是否有泄漏;液環泵啟動前要點車啟動,檢查是否被卡住;啟動前還要按《羅茨真空泵使用說明書》將羅茨泵油箱及油杯內油位注至指定要求;并且連接好羅茨泵的冷卻管路,保證羅茨泵軸封端的冷卻效果。
4.裝配好羅茨水環真空機組控制柜,按電氣原理圖聯接電動機和電接點真空表。
5.給電控柜送電前,還應遙測其絕緣電阻≮10MΩ,且機架與各電機有良好的接地;羅茨水環真空機組啟動前,檢查各泵的轉動方向是否正確,做好開車前的其他準備工作。
6.調整電接點真空表上真空度下限至-0.092MPa,上限調至-0.096MPa;注意:在調整電接點真空表上、下限時,必須先將總電源切斷,以防觸電!
7.給電控柜送上電源,打開供液閥對液環泵供注水。
空載試車:手動啟動V1,再按順序啟動V2、V3,各泵正常運轉后,依順序停V3、V2、V1;
載荷試車:手動啟動V1,預抽系統至-0.092MPa,啟動V2抽至-0.096MPa,啟動V3,系統正常工作約0.5小時后,停車順序同空載試車操作。
以上試車羅茨水環真空機組正常后,可以將轉向開關調至自動位置,按下啟動按鈕,V1運轉至-0.092MPa,電接點真空表控制羅茨泵自動啟動V2抽至-0.096MPa時,啟動V3,至羅茨水環真空機組各泵正常工作20分鐘,整套機組進入正常工作狀態。在運行中,如因某因素真空度低于限定值時,羅茨泵會自動停止運行,待真空度恢復到限值時,羅茨泵又重新啟動。
8.關機前,要關閉系統與機組聯接蝶閥,然后按停止按鈕,羅茨水環真空機組停止運行。 |
|
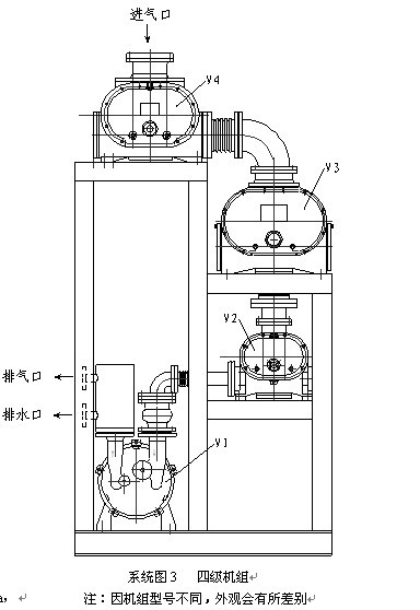
(三)、四級羅茨水環真空機組(羅茨泵+羅茨泵+羅茨泵+水環泵)
該羅茨水環真空機組的主泵為V4型羅茨真空泵,由V3、V2型羅茨真空泵和V1型液環真空泵作為前級泵(如系統圖3),為保證各泵的正常運轉,應按以下程序操作:
1.安裝前檢查設備的完整性,并熟悉所配各泵的使用說明書。
2.將羅茨水環真空機組就位固定好底角,按要求連接管路。
注意:在連接進氣管路時,應在機組上方管路中安裝20~40目的過濾網,防止焊渣等異物進入真空機組,在管路通過抽氣實驗并試車成功后可以將其取出。最好能夠安裝Y型過濾器。
羅茨泵進氣口上方與系統連接處應安裝閥門,以便在停車時先行關閉,使羅茨水環真空機組與真空系統隔開;液環泵和供液管路間要裝有球閥,以控制往液環泵內的供液量。
3.羅茨水環真空機組啟動前,要檢查系統各管道是否有泄漏;液環泵啟動前要點車啟動,檢查是否卡住;啟動前還要按《羅茨真空泵使用說明書》將羅茨泵油箱及油杯內油位注至指定要求;裝配好控制柜,按電氣原理圖聯接電動機和電接點真空表;給電控柜送電前,還應遙測其絕緣電阻≮10MΩ,且機架與各電機有良好的接地;將電接點真空表B1下限調至-0.092MPa,上限至0,B2下限調至-0.096MPa,上限調至-0.098MPa,接通水源、氣源,保證各羅茨泵軸封端的冷卻效果;檢查各泵的轉動方向是否正確,做好開車前的其他準備工作。
4.給電控柜送上電源,打開供液閥對液環泵供注水。
空載試車:手動啟動V1,按順序依次啟動V2、V3、V4各泵正常運轉后,依順序停V4、V3、V2、V1;
載荷試車:手動啟動V1,同時開啟閥F2預抽系統至-0.092MPa,關閉閥F2啟動V2抽至-0.096MPa,啟動V3抽至-0.098MPa,啟動V4。系統正常工作約0.5小時后,關閉閥F1,開啟閥F4;停車順序同空載試車操作,關閉各閥。
以上試車羅茨水環真空機組正常后,可以將轉向開關調至自動位置,按下啟動按鈕,啟動V1、F1、F2、F3抽至-0.092MPa,自動關閉閥F2,電接點真空表控制羅茨泵自動啟動V2抽至-0.096MPa時,自動啟動V3抽至-0.098MPa,再自動啟動V4至羅茨水環真空機組各泵正常工作20分鐘,手動啟動閥F4連鎖關閉F1,整套機組進入正常工作狀態。
5.關機前,要關閉系統與機組聯接蝶閥,然后按停止按鈕,羅茨水環真空機組停止運行。 |
|
(四)、備注
1.液環泵工作液為水時,循環使用會因水溫升高而降低真空度,影響泵的正常運行;因而應定期供應冷水,置換熱水,最好往泵內直通冷水直接排水;當JZJ2B(S)系列羅茨水環真空機組長時間不用時,要放掉泵內的水,避免生銹造成下次啟動被卡住等意外。
2.注意泵的聲音及電流變化,如發現劇烈變化應立即停止JZJ2B(S)系列羅茨水環真空機組檢查。 |
七、JZJ2B(S)系列羅茨水環真空機組電器控制說明:
JZJ2B(S)系列羅茨水環真空機組的電器控制系統嚴格按照各泵的工作程序設計。為方便用戶的使用,一般設置手動調試部分和自動工作部分。如果用于防爆系統中,可以設置防爆控制柱。用戶需要的情況下,可以采用微機控制程序。 |
八、JZJ2B(S)系列羅茨水環真空機組故障分析與排除: |
| 常見故障 |
產生原因 |
排除方法 |
羅茨泵運轉中
突然自行停車 |
羅茨泵過載:
1、羅茨泵反轉
2、系統漏氣
3、齒輪或傳動零件磨損造成轉子擦碰
4、電接點真空表控制失靈 |
1、糾正電機轉向
2、檢修并排除漏點
3、檢修磨損件
4、檢修電接點真空表 |
| 真空度達不到要求 |
1、系統漏氣
2、前級泵有故障,真空度低
3、羅茨泵密封件損壞 |
1、檢修并排除漏點
2、檢查密封件
3、更換密封件 |
| 羅茨泵內有水滴及齒輪箱內油污染乳化 |
1、液環泵啟動前注水太猛或停車前沒有關閉蝶閥,水進入羅茨泵
2、真空阻液閥損壞 |
1、清除水份并換油
2、修復閥門 |
| 電機運轉不正常 |
1、電機缺相
2、電源不正常
3、交流接觸器損壞 |
1、檢查電源接頭是否脫落
2、檢查電源是否缺相
3、換交流接觸器 |
|
JZJ2B(S)系列羅茨水環真空機組選型須知:
一、請提供以下詳細數據:①羅茨水環真空機組的產品名稱與型號②羅茨水環真空機組的真空度要求單位PA或MPA③羅茨水環真空機組抽速要求單位L/S或M3/MIN④羅茨水環真空機組的使用與否和工作條件⑤羅茨水環真空機組的電機功率(KW)⑥羅茨水環真空機組的轉速(r/min)⑦羅茨水環真空機組的電壓〔V〕⑧羅茨水環真空機組的進出口口徑⑨羅茨水環真空機組的材質要求⑩羅茨水環真空機組是否帶附件,以便我們的為您正確選型。
二、若已經由設計單位選定我公司的羅茨水環真空機組的產品型號,請按羅茨水環真空機組型號直接向公司銷售部訂購。
三、當使用的場合非常重要或環境比較復雜時,請您盡量提供設計圖紙和詳細參數,由我們的技術專家為您選型確認。
上海飛魯真空泵廠有限公司主要真空泵產品有:旋片式真空泵系列、水環式真空泵系列、往復式真空泵系列、羅茨真空泵系列、滑閥式真空泵系列、水噴射真空泵系列、擴散泵系列、真空機組系列等泵類產品及真空泵配件,我公司擁有豐富的生產歷史,技術精良,產品質量穩定可靠,公司恪守“以誠信,市場,互利”的宗旨,重合同,守信用。為您提供優質的產品、良好的服務,做您忠實可靠的合作伙伴, 竭誠歡迎各界新老朋友前來光臨洽談合作!
我公司免費咨詢電話:400-021-5161
感謝您訪問我公司的網站,如有任何疑問.您可以致電給我們,我們一定會盡心盡力為您提供優質的服務。
相關真空機組系列產品:
JZJX系列羅茨旋片真空機組
JZJ2B(S)系列羅茨水環真空機組
JZJS系列羅茨水環真空機組
JZJBA系列羅茨水環真空機組
JZJP型羅茨水噴射真空機組
RPP系列水噴射真空機組
JZJW系列羅茨無油往復真空機組
JZJH系列羅茨滑閥真空機組
ZKJ系列真空機組
無油干泵系列真空機組
擴散泵系列真空機組
|